Конвертер для УКВ ЧМ радиоприемника.

Преобразование сигналов с частотами УКВ диапазона системы OIRT (64,5...74 МГц) в сигналы с частотами системы CCIR (87,5... 108 МГц) удается осуществить при использовании специальной приставки — конвертера. Такой конвертер удобен в тех случаях, когда возможен прием радиостанций одновременно в двух стандартах, а используемый приемник таким свойством не обладает. Конвертер встраивают в приемник или используют как выносной блок. Существуют два варианта построения конвертера — с изменяющейся частотой гетеродина и с фиксированной.

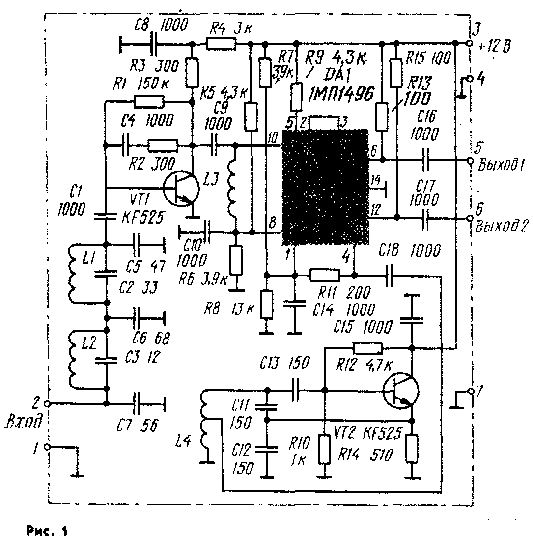
Для предлагаемой конструкции приставки выбран второй вариант. Фиксированное значение частоты гетеродина позволяет упростить схемотехническое и конструкционное решение, так как при этом можно исключить элементы настройки — конденсатор переменной емкости, вариометр, варикапы и высокостабильный источник питания,— а также связанные с ними шкальные устройства. Немаловажен и тот фактор, что при таком способе функции настройки и индикации частоты принимаемого сигнала (с учетом вычета частоты гетеродина) сохраняются за радиоприемником. Частота гетеродина конвертера, схема которого приведена на рис. 1, выбрана равной 25 МГц. Сигналы радиостанций УКВ диапазона OIRT, поступающие на «Вход», преобразуются в сигналы с несущими частотами 89,5...99 МГц. В предлагаемой системе приема они выполняют роль промежуточной частоты после первого преобразования (рис. 2).

Для подавления на входе устройства сигналов промежуточной частоты и зеркального канала включен двузвенный фильтр нижних частот L1C2C5, L2C3C6C7, пропускающий сигналы с частотами до 74 МГц и подавляющий с частотами выше 89,5 МГц. Вход конвертера несимметричный; рассчитан на работу с фидером, имеющим волновое сопротивление 75 Ом. Чувствительность конвертера определяется коэффициентом шума первого каскада. В этом отношении смесительные каскады обладают большими собственными шумами, чем усилительный каскад. Поэтому на входе конвертера после фильтра нижних частот применен апериодический усилительный каскад, выполненный на транзисторе VT1. Одновременно он выполняет роль буфера от проникновения сигнала гетеродина во входные цепи. Режим работы транзистора по постоянному току определяется резисторами R1 и R4. Коэффициент усиления каскада — 12 дБ. С высокочастотного усилителя сигнал через конденсатор С 9 поступает на сигнальный вход балансного смесителя, выполненного на микросхеме DA1. Режим работы входных цепей смесителя по постоянному току определяют резисторы R7, R8 и дроссель L3. Гетеродинный сигнал поступает на вывод 4 микросхемы через конденсатор С18. Режим работы цепей гетеродинного сигнала по постоянному току определеяют резисторы R5, R6 и R11. Гетеродин выполнен на транзисторе VT2, резисторах R10, R12, R14, конденсаторах СИ — С13 и катушке L4. Связь со смесителем автотрансформаторная. Выход смесителя симметричный, что дает возможность как симметричного, так и несимметричного отбора сигнала. Резисторы R13 и R15 выбраны так, что при несимметричном выходе (выводы 6 и 7 блока) КСВ= 1,3, а при симметричном выходе (выводы 5 и 6) КСВ=1,5.

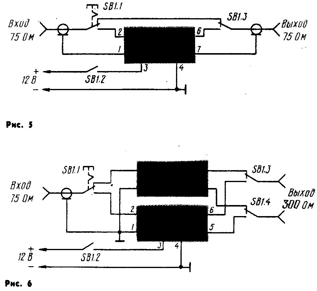
Катушки конвертера выполнены бескаркасными. Внутренний диаметр намотки катушек L1—L3 — 4 мм, L4 — 5 мм. Катушка L1 имеет 6 витков, провод ПЭВ 0,51. После намотки витки катушки следует растянуть так, чтобы расстояние между крайними витками составляло 5 мм. Катушка L2 имеет 7 витков, провод ПЭВ 0,51, L3 — 42 витка, провод ПЭВ 0,23 и L4 — 15 витков с отводом от 2,5-го витка, считая от нижнего по схеме вывода, провод ПЭВ 0,51. Исходя из конструкции антенны и входного устройства радиоприемника, возможны четыре варианта включения конвертера и приемника (рис. 3—6). На всех схемах переключатель SB1 определяет диапазон приема сигналов: в показанном положении производится прием сигналов в диапазоне 87,5... 108 МГц, при нажатии — 64,5...74 МГц.

Конструкция симметрирующего устройства показана на рис. 7. Оно выполнено на фер-ритовом магнитопроводе с двумя отверстиями тонким коаксиальным кабелем с волновым сопротивлением 120 Ом.

Първанов Д. Конверторна приставка за УКВ ЧМ-радиоприемници. — Радио, телевизия, електроника, 1989, № 5, с. 7—9

От редакции. В предложенной конструкции конвертера можно использовать отечественные транзисторы ГТ311, КТ339А, КТ368Б, микросхему КР140МА1. О варианте выполнения симметрирующего устройства с кольцевым ферритовым магнитопроводом мы рассказывали в журнале «Радио», 1986, № 6, с. 18. При приеме программ стереофонического вещания по системе OIRT в приемнике со стандартом CCIR необходимо предусмотреть стереодекодер полярной модуляции сигналов.

РАДИО № 2, 1990 г.

Назад