Мне очень понравилась работа приемника прямого преобразования Полякова, опубликованного в журнале "Радио" [I]. Конструкция легко повторяема и весьма эффективна. Например, в диапазоне 160 м на не слишком длинную антенну в зимнюю ночь были приняты сигналы радиостанций всех районов, а телеграфом - и стран Европы: ОН, DL, 12, SM и др. Приемник оказался простым в налаживании и потому весьма подходящим в качестве первой конструкции начинающему радиолюбителю-коротковолновику.
Под впечатлением его хорошей работы была разработана печатная плата и собраны несколько экземпляров на различные диапазоны. Для повышения удобства эксплуатации схема приемника немного усложнена. В основном это коснулось входной цепи, где добавлен плавный аттенюатор R1R2T1, и выходной - собран дополнительный каскад усиления мощности на транзисторах VT1, VT2. В самой схеме после смесителя улучшена фильтрация за счет катушки индуктивности L3 и конденсатора С13. Реализовано также предусмотренное автором [1] усиление по низкой частоте.

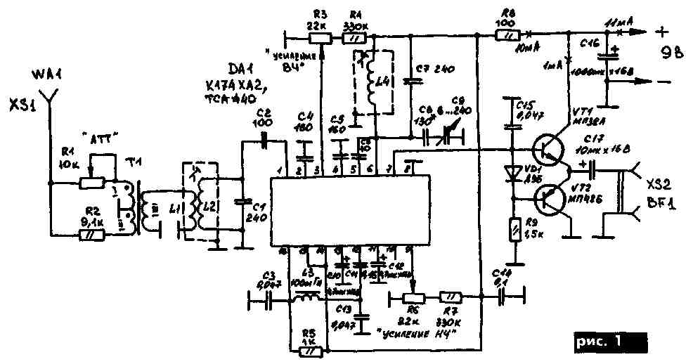
Схема доработанного приемника показана на рис.1. В нем кроме ручки настройки есть еще три регулятора - "Аттенюатор входа", "Усиление ВЧ" и "Усиление НЧ", с помощью которых общее усиление можно распределить по тракту приемника более рационально и под конкрет ную обстановку в эфире. Применение плавного аттенюатора на входе [2] позволяет легко совмещать динамический диапазон антенны со входом приемника, обеспечивая оптимальную связь с любой антенной без подбора витков катушки связи П. Катушка L1 намотана поверх L2 в нижней секции стандартного четырехсекционного каркаса и содержит 10 витков провода ПЭЛ 0,1-0,16. Контурные катушки L2 и L4 содержат по 60 витков того же провода. Трансформатор Т1 намотан на ферритовом кольце диаметром 7-16 мм проницаемостью 400 НН-2000 НМ. Можно использовать и самодельное кольцо из половинки броневого сердечника СБ. При этом особой разницы в работе аттенюатора не замечено Наматывают 7-10 витков тремя слегка скрученными проводами ПЭЛШО, ПЭЛ 0,12-0,33. После намотки конец первого и начало второго провода образуют средний вывод трансформатора. Широко распространенные низкоомные головные телефоны подключают к выходу микросхемы DA1 через двухтактный эмиттерный повторитель [3]. Небольшая асимметрия по напряжению в точке соединения эмиттеров транзисторов не влияет на работу приемника, поэтому подбор транзисторов по коэффициенту передачи тока не проводился. Возможна замена германиевых транзисторов кремниевыми, например КТ3102А и КТ3107А. Диод VD1 также можно заменить кремниевым КД503А. В целом транзисторный каскад экономичен его ток покоя около 1 мА, основным "потребителем" остается сама микросхема - до 10 мА, при напряжении питания 9 В.

Катушка L3 намотана на низкочастотном ферритовом кольце диаметром 12-20 мм проницаемостью 2000 НМ и содержит 250 витков провода ПЭЛШО, ПЭЛ 0,1-0,15. Точное значение ее индуктивности некритично. Вместе с конденсаторами СЗ и С13L3 образует П-образный фильтр нижних частот, формируя полосу пропускания в пределах 3 кГц. В качестве КПЕ применен малогабаритный конденсатор от транзисторных приемников с твердым диэлектриком и максимальной емкостью 220-260 пФ. Емкость "растягивающего" конденсатора С8 100-150 пФ. При указанных на схеме номиналах С8 и С9 диапазон 1810-2000 кГц полностью перекрывается с небольшим запасом по краям.
Если детали исправны и сборка приемника проведена аккуратно и без ошибок, налаживание сводится к уточнению границ диапазона с помощью подстроечника L4 и настройке на максимальную громкость входной катушкой L2. Резисторы R4 и R7 конструктивно размещены на выводах переменных резисторов R3 и R6, а конденсатор С8 - на выводе КПЕ С9. Рисунок печатной платы и расположение элементов приемника показаны на рис.2.
Литература:
1. Поляков В. Приемник на одной микросхеме, Радио -1997-№ 12.
2. Мединец Ю., Томсон Т. Ферритовые кольца в спортивной аппаратуре, Радио - 1977 - № 4
3. Поляков В. Усовершенствование приемника корот-коволновико-наблюдотеля, Радио- 1976 - № 7.
А.Дмитриенко, RA4NR, г Кирово-Чепецк, Россия, РАДИОАМАТОР № 4, 2001