Повышенный интерес к изготовлению радиотелефонов сдерживается сложностью схемных и технических решении, обусловленных принципом работы. Например радиотелефон "РТФ-92", опубликованный в [1], сложен как в изготовлении, так и в наладке, требует изготовления большого количества катушек и трансформаторов.
При разработке предлагаемого радиотелефона ставилась задача создать радиотелефон, доступный для изготовления начинающим радиолюбителям. Метод тонального радиоуправления не позволяет это сделать, поэтому в основу работы данного радиотелефона положен метод прерывания несущей. Это позволило максимально упростить схему и обеспечить следующие достоинства:
- работу в дуплексном режиме (можно одновременно говорить и слушать);
- высокое качество сигнала (широкополосная ЧМ модуляция);
- питание стационарного аппарата полностью от телефонной линии;
- высокую экономичность радиотелефонной трубки (за :чет простоты схемы);
- простоту элементной базы и возможность наращива-ня мощности передатчиков.
Рассмотрим работу радиотелефона.

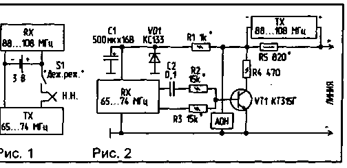
Радиотелефонная трубка (рис.1) находится в режиме дерного приема, передатчик ее выключен. В стационарном телефонном аппарате (рис.2) работает также один тлько приемник. Телефон с определителем номера находится в режиме автоподнятия трубки. При поступлении вызова от абонента автоматически включается передатчик стационарного аппарата и передает вызов на радиотелефонную трубку. После приема вызова включается передатчик радиотелефонной трубки и система готовa к работе в дуплексном режиме.

При вызове со стороны радиотелефонной трубки включается питание передатчика тумблером S1"Деж.реж.". Сигнал несущей принимается приемником стационарного аппарата, при этом в нем загорается светодиод точной настройки. В дежурном режиме транзистор VT1 (рис.2) закрыт. Напряжением со светодиода транзистор открывается, при этом на резисторе R5 возникает падение напряжения, которое питает передатчик стационарной части. При наборе номера на радиотелефонной трубке происходит прерывание питания (и соответственно несущей) на число раз, соответствующее цифре. Соответственно столько же раз потухает светодиод, напряжение с которого коммутирует транзистор VT1. Таким образом происходит набор номера в линию. При передаче информации низкочастотный сигнал с выхода УНЧ приемника поступает на базу VT1 для модуляции. При отсутствии телефона с определителем номера, который включает режим автоподнятия трубки, можно установить электронное реле, осуществляющее автоподнятие.
Выбор приемников и передатчиков для радиотелефона. Выбор приемника зависит от возможностей и квалификации радиолюбителя. Основной критерий для приемника позволяют, элементы управления и транзистор VT1 можно разместить в самом приемнике. Можно также установить в корпусе приемника гнездо, и на него вывести управляющие напряжения, а саму схему управления собрать в отдельном корпусе. В этом варианте приемник можно в любой момент отсоединить и использовать по прямому назначению.
Если будет использоваться импортный приемник (в них обычно применяется одна специализированная микросхема), а также при отсутствии принципиальной схемы приемника точку, откуда снимается напряжение точной настройки, можно найти экспериментально тестером по увеличению постоянного напряжения при приеме сигнала несущей частоты передатчика радиотелефонной трубки.
Для упрощения конструкции передатчик стационарного аппарата (рис.4) питается от телефонной линии. Мощность его ограничена мощностью телефонной сети и зависит от падения напряжения на резисторе R5. Величина R5 подбирается таким образом, чтобы при поднятой телефонной трубке на нем падало 15...18 В (транзисторы должны слегка греться).

Дальность действия приемника радиотелефонной трубки — ток покоя, так как от него зависит время непрерывной работы. Экономичный приемник с низковольтным питанием можно собрать на микросхеме К174ХА34 по схеме, приведенной на рис.3. При ее отсутствии можно использовать готовый миниатюрный приемник с выходом на телефон. Размеры платы таковы, что позволяют свободно установить ее в трубке радиотелефона. Такой же приемник, но на диапазон 65...74 МГц, можно использовать и для стационарного аппарата. Приемник потребляет небольшой ток, поэтому его можно питать от телефонной линии. Но так как размеры приемника для стационарного аппарата некритичны, для этой цели можно использовать переносной приемник со встроенным блоком питания типа "Океан".
Порядок доработки приемника стационарного аппарата. Для управления транзистором VT1 (рис.2) с приемника используются два сигнала: напряжение точной настройки — для набора номера в линию, и напряжение низкой частоты — для модуляции. Если размеры радиотелефона в большой степени определяется мощностью передатчика радиотелефонной трубки, а та, в свою очередь, зависит от напряжения питания. Если не требуется большая дальность, для передатчика можно использовать питание приемника (рис. 1). Выбор источника напряжения и его величины определяется размерами радиотелефонной трубки
Принципиальная схема передатчика радиотелефонной трубки приведена на рис.5. Задающий генератор передатчика выполнен на транзисторе VT2 типа КПЗОЗ. Частота генерации определяется элементами L1, СЗ, С5, VD2. Частотная модуляция осуществляется путем подачи модулирующего напряжения звуковой частоты на варикап VD2 типа КВ109. Рабочая точка задается напряжением, поступающим через резистор R2 со стабилизатора напряжения. Стабилизатор включает в себя генератор стабильного тока на полевом транзисторе VT1, стабилитрон VD1 и конденсатор С2. Усилитель мощности выполнен на транзисторе VT3. Режим работы усилителя задается резистором R4.

Дроссели L2 и L3 могут быть любыми с индуктивностью 10...150 мГн. Катушки L1 и L4 наматываются на полистирольных каркасах диаметром 5 мм с подстроенными сердечниками 100 ВЧ или 50 ВЧ. Количество витков — 3,5с отводом от середины, шаг намотки — 1 мм, провод — ПЭВ 0,5. Настройка заключается в установке необходимой частоты генератора конденсатором С5, получении максимальной мощности путем подбора сопротивления резистора R4 и подстройке частоты контура конденсатором С 10.
В передатчике стационарного аппарата (рис.4) резистор R5 включается в разрыв одного из проводов телефонной сети. При снятии трубки телефонного аппарата или включении режима автоподнятия в цепи появляется ток, который в зависимости от типа аппарата и состояния линии находится в пределах 10...35 мА. Этот ток, протекая через резистор R5, вызывает на нем падение напряжения порядка 15... 18 В, которое питает передатчик. Автогенератор передатчика собран по обычной двухтактной схеме, на транзисторах VT1 и VT2. Частотная модуляция происходит за счет изменения напряжения в линии и, как следствие, изменения напряжения на базах транзисторов. Частота задается параметрами контура L1, С5. Катушка L1 наматывается на полистирольном каркасе диаметром 5 мм и содержит 4 витка провода ПЭВ 0,5 мм с отводом от середины. Катушка L2 наматывается поверх L1 и имеет 2 витка того же провода. Настройка производится при занятой телефонной линии путем подстройки контура L1, С5.
Радиотелефон обеспечивает дальность связи в пределах 300 метров, но при установке дополнительных усилителей мощности в радиотелефонную трубку и стационарную часть можно легко увеличить радиус действия до 10...15 км. При установке радиотелефона в автомобиль запитку радиотелефонной трубки лучше производить от бортового аккумулятора.
Консультации, а также собранные схемы передатчиков можно получить у автора.
Литература:
1. Радиолюбитель. — 1996. — N5. — с. 16.
2. Радиолюбитель. — 1997. — Nl. — с.13.
3. Андрианов. Шпионские штучки. — М.: Лань, 1996.
Н.МАРТЫНЮК, 225860, Брестская обл., г.Кобрин, ул.Южная, 18, тел.(01642) 2-64-36.
Радиолюбитель № 11, 97 г.