Генератор для налаживания декодеров ПАЛ.

Телевизионные декодеры системы ПАЛ быстро и с высоким качеством можно наладить, если использовать генератор сигналов цветных полос системы ПАЛ или их тестовую видеозапись, воспроизводимую на видеомагнитофоне, В статье В. Кетнерса «Кодер системы ПАЛ в генераторе «Электроника ГИС 02Т» («Радио», 1987, № 10, с. 28—30) описана доработка генератора «Электроника ГИС 02Т», обеспечивающая формирование сигналов цветных полос системы ПАЛ. Однако сравнительно высокая стоимость генератора не позволяет воспользоваться им и этим усовершенствованием широкому кругу радиолюбителей. Следует отметить, что наиболее сложными в налаживании устройствами в декодерах ПАЛ можно назвать кварцевый автогенератор с системой фазовой автоматической подстройки частоты (ФАПЧ) и узел цветовой синхронизации, так как для их налаживания необходимо использовать специально сформированные сигналы вспы шек поднесущей частоты 4433619 Гц. Они представляют собой радиоимпульсы этой поднесущей длительностью 2 мкс с частотой следования, равной частоте телевизионных строк, и фазой, принимающей чередующиеся от строки к строке значения 0° и 90°, Остальные узлы декодеров (усилитель с устройством АРУ, линия задержки с сумматором и вычита-гелем, а также демодуляторы сигналов цветности) могут быть налажены широко распространенными измерительными приборами — обычными генераторами и осциллографами.

Поэтому для широкого круга радиолюбителей предлагается простой генератор, обеспечивающий формирование сигналов вспышек поднесущей, импульсов полустрочной и строчной частоты, а также непрерывных колебаний поднесущей.

Основные технические характеристики.

Максимальный paзряд вспышек, В...........................................................................................................................................0,3

Maксимальная расстройка частоты заполнения вспышек оотносительно номинальной (4 433 619 Гц) Гц...................±220

Номинальная частота следования вспышек. Гц....................................................................................................................15 625

Длительность вспышек, мкс...................................................................................................................................................1,7....2,2

Уровень подавления поднесущей в паузах. дБ, не менее........................................................................................................23

Парамемры прямоугольных положительных импульсов, совпадающих с вспышками

амплитуда, В...........................................................................................................................................5±0,5 и 10±1

длительность, мкс........................................................................................................................................1,7...2,2

постоянная составляющая между импульсами, В, не более........................................................................0,4

Напряжения питания, В.............................................................................................................................................................11...15

Потребляемый ток (при напряжении питания 12 В)мА.............................................................................................................10

Используя генератор, можно наладить устройство ФАПЧ, узел цветовой синхронизации, устройство АРУ и цепь автоматического включения декодера ПАЛ.

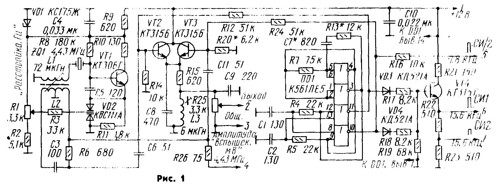
Принципиальная схема устройства изображена на рис. 1. Задающий автогенератор под-несущей частоты 4 433 619 Гц собран на транзисторе VT1 по схеме емкостной трехточки с кварцевым резонатором ZQ1. Роль одного из конденсаторов трехточки играет варикап VD2, на средний вывод которого через резистор R3 воздействует регулируемое переменным резистором R1 напряжение Это позволяет в небольших пределах (:1;220 Гц) изменять частоту автогенератора для того, чтобы определить ширину полосы захвата и удержания системы ФАПЧ в налаживаемом декодере сигналов ПАЛ. Напряжение питания автогенератора и делителя R1R2 стабилизи-ровано параметрическим стабилизатором R9VD1, Номинальное значение поднесущей частоты устанавливают под-строечником катушки L1, включенной последовательно с кварцем, при среднем положении движка переменного резистора R1. Средний вывод катушки связи L2 соединен с общим проводом, что позволяет получить противофазные колебания на других ее выводах. Фазовращатель R6C3 обеспечивает сдвиг фаз 90° между этими колебаниями (на выводах резистора R6),

Напряжения поднесущей частоты с указанным сдвигом фаз через конденсаторы С6 и С11 поступают на коммутатор, выполненный на транзисторах VT2 и VT3, которые включены с общими цепями нагрузки C8R15L3C9R25. На базы транзисторов с выводов 11 и 10 микросхемы DD1 воздействуют управляющие положительные прямоугольные импульсы длительностью 2 мкс с периодом следования 128 мкс (полустрочные), но сдвинутые относительно друг друга на 64 мкс. При их отсутствии транзисторы закрыты. Поступая через делители R12R14 и R24R20, импульсы поочередно открывают транзисторы коммутатора. На колебательном контуре L3C9 формируются вспышки поднесущей с чередующейся через интервал 64 мкс фазой 0° и 90°, а также с близкой к колоколообразной огибающей. Размах вспышек на выходе (вывод 2) устройства регулируют переменным рези стором R25. На выводе 4 устройства присутствуют непрерывные колебания поднесущей, по которым контролируют ее частоту.

Генератор управляющих импульсов полустрочной частоты построен на микросхеме DD1, На двух ее элементах (верхних по схеме) выполнен собственно релаксационный генератор импульсов с частотой следования 7812 Гц. На выводах 3 и 4 микросхемы возникают противофазные напряжения, близкие к форме меандр. На двух других элементах микросхемы DD1 совместно с цепями C1R4 и C2R5 собраны формирователи необходимых коротких (2 мкс) управляющих импульсов полустрочной частоты, поступающих на коммутатор

Импульсы полустрочной частоты объединяются в элементе ИЛИ, реализованном на диодах VD3, VD4 и резисторах R17—R19. Полученные таким образом импульсы строчной частоты проходят через эмиттерный повторитель, собранный на транзисторе VT4, на выходы (выводы 6 и 7) устройства. Резистор R21 защищает транзистор VT4 от выхода из строя при случайном коротком замыкании на этих выходах. Импульсы, снимаемые со средней точки делителя R22R23, имеют уровни ТТЛ, а снимаемые с эмиттера транзистора VT4 — уровни микросхем структуры КМОП. Импульсы полустрочной частоты (вывод 5 устройства) используют для управления (синхронизации) разверткой осциллографа при налаживании узла цветовой синхронизации декодеров ПАЛ Устройство питают от цепей телевизора или другого источника напряжением 11...15 В

Конструкция и детали. Генератор собран на печатной плате, изображенной на рис 2 и изготовленной из фольгированного стеклотекстолита толщиной 1,5 мм. Все постоянные резисторы — ОМЛТ, переменные — СП3-4аM (установлены на печатной плате), конденсаторы — КТМ или КМ. Стабилитрон КС175Ж (VD1) можно заменить на Д814А, варикапную матрицу КВС111А (VD2) — последовательно включенными конденсатором емкостью 75 пФ (вверху по схеме) и варикапом Д901Г. Все транзисторы можно применить с любыми другими буквенными индексами. Микросхема К561ЛЕ5 может быть заменена на К176ЛЕ5 без изменений на печатной плате. Катушки LI, L2 и L3 намотаны внавал проводом ПЭВ-2 0,12 на каркасах от катушки 2L1 модуля цветности МЦ-2 телевизора ЗУСЦТ. Они снабжены подстроечниками М100НН-2 ПС2,8 х 12. Катушка L1 содержит 95, L2 — две части по 5, a L3 — 25 витков. Катушки L1 и L2 намотаны на одном каркасе, причем L2 размещена поверх L1. Корпусы переменных резисторов R1 и R25 следует соединить с общим проводом.

Налаживают устройство, используя электронно-счетный частотомер и осциллограф с полосой пропускания не менее 10 МГц, имеющий пробник с входной емкостью не более 15 пФ. Сначала движок переменного резистора R1 устанавливают в среднее положение и подключают вход частотомера между выводами 3 и 4 генератора. Вращая подстроечник катушки L1, добиваются показания частоты 4 433 619 Гц. Далее движок переменного резистора R1 ступенчато перемещают из одного крайнего положения в другое и по частотомеру градуируют его шкалу изменения частоты («Расстройка, Гц»). Затем вход Y осциллографа подсоединяют к выводам 3 и 6 устройства. Подбором резистора R13 в пределах сопротивлений 6,8...30 кОм получают равные соседние интервалы следования импульсов. При этом на выводах 3 и 4 микросхемы DD1 наблюдаются прямоугольные импульсы формы меандр. После этого вход частотомера подключают к выводу 5 устройства и подбором в небольших пределах (±60 пФ) конденсатора С7 устанавливают частоту 7812 Гц колебаний релаксационного генератора на микросхеме DD1. Далее на вход Y осциллографа подают сигналы с выхода (вывод 2) устройства и подбором резистора R20 добиваются равных амплитуд соседних вспышек. Затем настраивают контур L3C9 по максимуму амплитуды вспышек на выходе и, наконец, градуируют шкалу переменного резистора R25 («Амплитуда вспышек, мВ») по осциллографу.

К. ФИЛАТОВ, г. Таганрог

Радио № 8, 1989 г.

Назад