При разработке стандарта
магнитной записи видеосигналов формата S-VHS (Super
VHS) было уделено особое внимание уменьшению
перекрестных искажений между видеокомпонентами
- сигналами яркости Y и цветности С. Помимо того,
что эти сигналы обрабатываются раздельно,
раздельно делаются и соединения между
видеомагнитофонами (ВМ), видеоплеерами и
мониторами по цепям сигналов Y и С.
В качестве соединителей используется четырехконтактный разъем (гнездо-вилка), который называют S-soket (S-гнездо), или Hosiden. На рис.1 показан соединительный S-шнур, представляющий собой две вилки, соединенные парой экранированных проводов (коаксиал с импедансом 75 Ом) Для подключения, например, S-VHS плеера и ВМ необходимо первую вилку вставить в гнездо S-OUT плеера, а вторую - в гнездо S-IN ВМ.

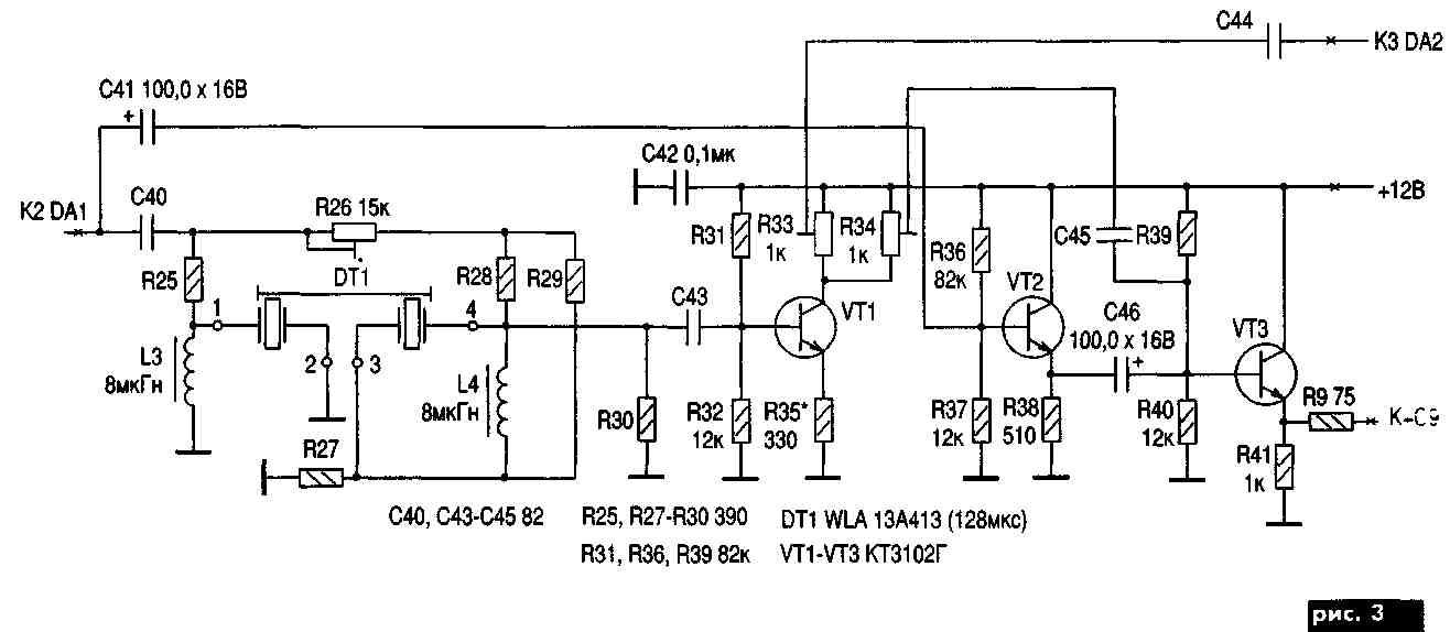
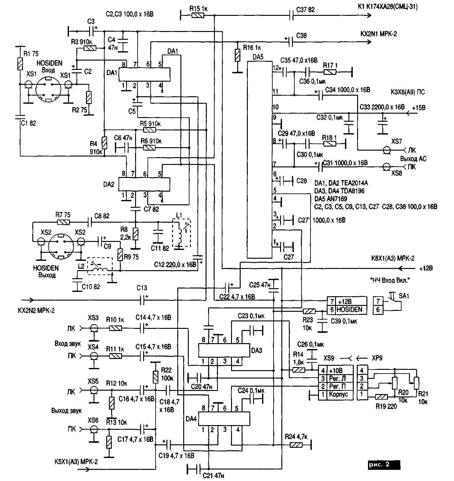
С помощью S-гнезда можно подключать также и технику формата Н1-8 (камкодеры) и почти все DVD плееры. Поскольку профессиональные мониторы S-VHS и телевизоры для домашнего кинотеатра достаточно дорогие, имеет смысл доработать обычный телевизор, установив в нем S вход/выход Можно, конечно, подключить такие аппараты и через компонентный видеовход, однако при этом теряются все преимущества техники указанных форматов. Схему (рис.2) монтируют в телевизорах 3-го поколения. Сигналы Y и С с S-гнезда XS1 поступают на видеокоммутаторы DA1, DA2 При приеме ТВ программ видеосигнал с СМРК поступает на коммутатор Y DA1 Затем он подается на УСР и МЦ, а также через коммутатор С (DA2) на вход СМЦ PAL Если подключается S видеовход (кнопка SA1 нажата), сигналы с S-гнезда через коммутаторы поступают раздельно на соответствующие модули ТВ Вне зависимости от того, принимается ли ТВ программа или подключен S-вход, видеосигналы с коммутаторов через ре-жекторный L2C10 и полосовой L1C11 контуры, выделяющие соответственно сигналы Y и С, поступают на S выход. Сигналы звука левого и правого каналов коммутируют соответственно микросхемы DA3 и DA4 При этом R20 и R21 регулируют их громкость С коммутатора звуковые сигналы поступают на двухканальный усилитель мощности DA5 и через два кинч-разъема XS7/ XS8 (тюльпанчики) на акустические системы мощностью 5 - 10 Вт. Так как режекторный и полосовой фильтры неэффективно разделяют Y и С компоненты, искажая при этом их АЧХ, то в S-VHS технике для этого используют гребенчатый фильтр на основе ультразвуковой линии задержки (УЛЗ). Его схема показана на рис.3. Сигнал С выделяется из полного видеосигнала узлом на DT1 (задержка на 2 строки), при этом в нем максимально подавляется яркостная компонента Усилитель на VT1 компенсирует затухание сигнала в УЛЗ, и с движка R33 очищенный сигнал цветности подается на схему коммутатора Также сигнал С с движка R34 складывается в противофазе с цветностной компонентой видеосигнала, приходящего с эмиттерного повторителя VT2, на сумматоре VT3 При этом сигналы взаимно компенсируются, и на выходе VT3 получаем компоненту Y. Для установки фильтра удаляют С5, СЮ, С1 U1, L2, R8, а вместо С7 и С8 устанавливают емкость 82 пФ Фильтр подпаивают к точкам, указанным на рис. 3.
Схему сопряжения можно собрать
на произвольной элементной базе к примеру DA5 моно
заменить на TDA2005 в соответствующем включении L1 и
L2 имеют по 24 витка ПЭВ-2 0,23 на каркасах 0 6 мм
снабженных ферритовыми подстроечными
сердечниками XS1, XS2 - S-гнезда, XS3 - XS8 - кинч-гнезда
Для установки схемы в ТВ в последнем отключают
питание +15 В от штатного УМ, а также удаляют
перемычку XS2 на МРК-2 и в модуле СМЦ-31 - конденсатор
С1, соединяющий вход К174ХА28 с цепью видеосигнала.
Точки подключения устройства обозначены в
соответствии с принципиальной схемой телевизора
ФОТОН Ц311 Плату, на которой установлены и разъемы
XS1 - XS8, размещают на внутренней стороне боковой
стенки так, чтобы все гнезда находились напротив
соответствующих отверстий, просверленных в
задней стенке ТВ Провода, соединяющие схему с
модулями ТВ, должны иметь минимальную длину В
качестве SA1 используют выключатель
громкоговорителя, а для регуляторов громкости -
регуляторы тембра (отпаяв при этом
неиспользуемые провода). Устройство практически
не требует настройки и работает сразу Необходимо
лишь настроить режекторный и полосовой контуры
по максимальному подавлению соответственно
сигналов С и Y на S выходе (наблюдая по
осциллографу за амплитудой вспышек на задней
площадке строчных гасящих импульсов). Несколько
сложнее настройка гребенчатого фильтра Для
этого необходим анализатор спектра Подключив
его вход к базе VT1, контролируют сигнал в районе
цветовой подне-сущей PAL (4,43 МГц) При этом
регулировкой R26 добиваются максимального
подавления яркостного сигнала Контролируя
сигнал на коллекторе VT1, подбором R35 добиваются
амплитуды сигнала С на 2 дБ больше, чем амплитуда
цветностной компоненты во входном сигнале
Контролируя сигнал на выходе VT3 (сумматоре),
регулировкой R34 добиваются максимального
подавления сигнала С в яркостном сигнале Если
сигнал С не компенсируется, а удваивается, правый
вывод С43 подключают к выводу 3 DT1.
В. К. Федоров, г Липецк, Россия, РАДИОАМАТОР №
4, 2001.